一楼一凤论坛的最新消息今天,品茶qm论坛官网,苏州夜网龙凤论坛,五一风流论坛全国唯一官网查询

安诗曼工业除湿机厂家专业生产工业除湿机,家用除湿机,商用除湿机等产品,欢迎来电咨询定制。 公司简介 | 研发团队 | 网站地图 | xml地图
安诗曼-精芯除湿·致净生活环境温度湿度系统化解决方案供应商
全国咨询热线:133-6050-3273
您的位置:新闻资讯 > 公司动态 > 房屋内产生的大量水分来源有哪些呢?

房屋内产生的大量水分来源有哪些呢?

作者:CEO 时间:2022-12-10 点击:0

信息摘要:如果在房屋内产生大量的水分,则还必须有除去水分的手段。通常情况下,通过改变空气的方式除去水蒸气,无论是通过建筑围护结构的自然空气泄漏还是机械通风系统。它也可以通过使用除湿设备来去除,但是住宅除湿机在冬天具有有限的除湿能力。目前许多高湿度和房屋冷凝的问题可以通过控制水分源而非通过使用除湿器或增加空气变化率而得到有效解决。为了将湿度输入视为一个角度,首先要考虑一...

房屋内产生的大量水分来源有哪些呢?

房屋内产生的大量水分来源有哪些呢?

  如果在房屋内产生大量的水分,则还必须有除去水分的手段。通常情况下,通过改变空气的方式除去水蒸气,无论是通过建筑围护结构的自然空气泄漏还是机械通风系统。它也可以通过使用除湿设备来去除,但是住宅除湿机在冬天具有有限的除湿能力。目前许多高湿度和房屋冷凝的问题可以通过控制水分源而非通过使用除湿器或增加空气变化率而得到有效解决。

  为了将湿度输入视为一个角度,首先要考虑一个典型的两层住宅,在这种情况下,在安大略省奥尔良的MarkXI能源研究项目房屋的空气中含有多少水.1这栋房子的总面积内部空间容积为460立方米。如果房屋内的空气维持在30%的相对湿度,那么总的含水量将是2.6千克或约2.6升。如果空气完全饱和,即100%RH,那么它将包含8.7升。虽然这可能表明室内湿度水平是水分进入量的指标,但不幸的是不是。房屋内的情况很少是静止的,即室内空间几乎总是有一些湿气,有些湿气因通风或漏风而损失。

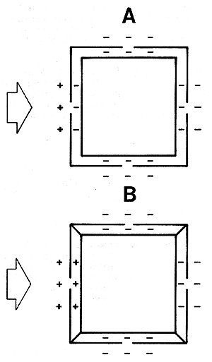
  此外,无论湿度的输入率高还是低,都可以保持恒定的湿度水平。图1显示了两个盛水的容器。想象一下,集装箱代表了两个同等容量房屋的室内空间。它们被填充的程度与每个房屋的空气中存在的湿度的百分比相同。

  水分来源

  图1

  第一个容器(A)填充到其容量的30%。这种情况与上面所描述的情况相似,即房屋相对于其容量和相对湿度具有固定的水蒸汽量。集装箱B也装满了其容量的30%,并且假设进入集装箱顶部的水量等于排出底部的水量,则水量保持恒定,而不管水分输入和损失。这就是湿度平衡的意思,也就是说,如果一个房子的湿度水平是恒定的,那么进入房屋的水分必须等于出来的水分。

  假设我们想确定将湿度保持在30%所需的通风率。在房子里整个冬天。水量与总体通风量之间的关系可以用简单的图表来表示(图2)。该图显示了每天以升为单位的水摄入量与以升/秒为单位的泄漏或空气变化率,以及由此产生的室内湿度数据与外部条件之间的关系。应该知道外部条件,因为空气也在家里提供蒸汽。

  水分来源

  图2室内湿度平衡(室外空气-18°C/100%RH)

  如果我们假设房屋输入的水分总量为每天7.4升,则需要在-18°C下每秒需要16升的室外空气来维持30%的相对湿度。另一方面,如果每天的总水分输入量是18升水,则需要每秒39升的空气变化率来保持相同的30%相对湿度下的室内湿度水平。

  因此,房屋的室内湿度水平一方面是湿度的来源,另一方面是通风量,以及每个房间的湿度。简而言之,这意味着除非您知道任何房屋的水分输入总量,否则您无法确定需要的通风量。

  由于通风在后面的文章中有描述,本文将考察控制房屋湿度水平时必须考虑的各种水分来源。

  有许多水分来源可以在房子里产生水汽。其中包括加湿器,人员及其活动,建筑材料,地下室和爬网空间,季节性储存效果和雨水渗透。其中每一个都独立于其他部分,也就是说,来自一个来源的水分(例如居住者)与来自地下室的湿气没有联系,反之亦然。但所有这些来源对房屋的水分平衡有直接的影响。

  加湿

  家用加湿器的种类很多。这些加湿器可以分为中央空调加湿器和无风管加湿器。那些用于中央空气系统的设备包括锅型,最常见的油气系统和电炉系统,湿垫型(有时称为动力加湿器),以及不经常使用的雾化型。

  独立式或便携式加湿器可采用任何先前所述的蒸发方式,然而,湿垫和鼓风机相当普遍。加湿器的水分输出率随型号,制造商,地点,以及室内温度和湿度以及房间内的空气流动而变化。但是,无论房屋的类型和大小如何,当房屋内湿度很高时,都必须搜寻加湿器并关闭。

  一般认为,家庭住户及其活动一般是高湿度的原因,因此是许多凝结问题的原因。毫无疑问,在某些情况下,这可能是事实。然而,最近加拿大抵押贷款和住房公司进行的一项重大研究的结果表明,这是一个例外,而不是规则。3

  在几年前完成的另一个项目中,研究了家庭占有情况,以确定人们的水分产出和几种家庭活动的水分投入率.4考虑了一个四口之家的活动;发现虽然居民的活动可能会有所不同,但呼吸和排汗等代谢过程产生的水蒸气量平均为每小时0.2升或每天5升。这是每人每天1.25升。

  还进行了一系列的活动,包括洗澡,淋浴,做饭,洗衣和烘干,地板清洗(图3)。这些活动中的每一个都有助于保湿,然而,平均增加的水分输入是每天2.4升,而居住者所贡献的5升。

  水分来源

  图3

  还有其他四个与今天的生活方式有关的水分来源,值得注意。这些是使用不通气的燃气器具,室内花园,浴室,桑拿浴室和热水浴缸,以及使用柴火。

  燃气用具

  在前面提到的研究中,也有报道说不通气的器具释放了水分。例如,气体冰箱被发现每天释放1.3升水分。煤油加热器也放弃了大量的水蒸气。但是,它的贡献更好地与燃料消耗有关。煤油加热器释放的水量稍多于每公斤消耗的燃料一升。天然气和丙烷的价格可以相似。

  房子植物

  还研究了植物的浇水和随后排放的水分,发现植物一般每周平均大小植物释放约0.5升的水。如果这个家庭拥有一个拥有25-30个植物的温室,那么每天可以释放大约两升的水。

  浴室,桑拿浴室和热水浴缸

  新近和现有的家庭最近的社会趋势是增加娱乐设施,例如按摩浴缸,桑拿浴室和热水浴缸。所有这些设备产生和释放房屋内的水分。特别是在不使用热水浴缸的时候,一定要把热水浴缸盖上。

  木柴

  随着节能时代的到来,木炉的复兴已经来临。一根软木带进地下室干燥将释放大约130升的水,木柴含水量变化10%。硬木木材中的同一根绳子的重量大约是其重量的两倍,每根绳子的释放量将超过250升??悸堑揭桓龅湫偷姆孔涌赡苁褂么笤既踊蛘呔鸥砻嫔?,在冬天的过程中总的水分释放可能接近800升。如果采暖季节持续六个月,则可以假定柴草每天以大约五升的速度释放水分。

  当我们检查一个四口之家的水分输入及其活动时,有趣的是,很少有来源和居住者一样多。如果所有这些产生水分的活动都是在同一天发生的,包括在室内干燥的衣服,地板清洗,烹饪和柴火烘干,则每天的综合负荷将达到18-20升。

  水分来源

  图4室内湿度平衡(室外空气-18°C/100%RH)

  当我们考虑一个占用率超过正常水分输入率,并将其等同于平均通风量(图4)时,我们在房屋的平均空气交换率和平均占用湿度输入之间留下了显着差距。这些并不等于高湿度条件。

  这意味着两件事之一。问题房屋的假设自然通风率比平均水平要低得多,也就是说,它是一个密闭的建筑物,或者居民只贡献了一部分水分投入,还有其他的来源需要考虑。最近的实地调查已经开始显示,这很可能是两者的衡量标准。但是,由于气密性和换气率低,在下面的文章中会有很好的讨论,所以我们将重点讨论影响房屋室内条件的许多“隐藏”水分来源。

  典型的房子是由通常相当湿的木材建造的,混凝土在制造过程中需要大量的水,还有许多其他产品,包括护套,绝缘层,空气和水蒸气阻挡层以及覆层材料。施工完成后,混凝土和木材可能会产生大量的水分。

  构筑木材

  使用同一座两层的MarkXI房屋,计算出一层和二层的隔墙和全部地板托梁的总重量约为2100公斤。如果在建筑中使用的木材含水量为19%(这并不罕见),如果最终干燥到9%的水分含量,则会释放200升以上的水分。这种水分被排放到房子的内部,并与其他水分源混合。

  混凝土基础

  大多数新房都建在混凝土基础上。假设样房的地基高约2.5米,厚0.25米,周边墙35米,则基础将包含22立方米的混凝土。地下室的地板大约有四立方米的混凝土,总共有26立方米。在混凝土的一般混合物中,一个立方米在混合过程中需要210升或更多的水,但是通过水合作用,最终保留略少于120升的水。因此这种混凝土在固化过程中释放2340升水。这种水将在头两年内释放,可能大部分在第一年内释放。

  当木材和混凝土干燥时,根据建筑物的大小,框架木材的水分含量以及混凝土表面的面积,室内空间可以供应2000至3000升的水。假设18个月的干燥期,这相当于每天4到5升的水分,这与占用产生的水分相比有显着的贡献。因此,在施工后的头两年出现很多高湿度和凝露问题的投诉,这并不奇怪。

  水分的季节性储存

  还有另外一个现象可以增加冷凝季节的湿气输入速度。这是房屋内的家具和各种建筑材料周期性的储存和释放湿气。由于大部分房屋在夏季通风,外面温暖潮湿的空气将对房屋内的所有材料施加高水蒸汽压力。当室外湿度接近100%时,包括一些下雨天,室外湿度水平在夏季可能在几个月内在60-90%的范围内悬停。因此,在通风的情况下,房屋的室内条件很可能也会处于相当高的湿度,但是由于炎热的夏季温度,在建筑物外的任何地方,除了冷表面之外,一个地下室。然而,相当大的湿度可能被存储在建筑物结构内。

  冬天来临时,室内湿度要低得多。这是因为空气泄漏和通风带走了大部分的室内湿度,使湿度水平通常在30-40%的范围内;这会使大部分隐藏的水分重新出现在室内空气中。

  框架木材,胶合板,家具

  水分来源

  图5木材和混凝土的平衡水分含量

  如果夏季室外湿度在75%左右,那么纤维素和木质家具的含水量将增加到11%(图5)。与此相比,如果室内湿度在冬季降低到30%,那么材料和家具将倾向于放弃储存的水分,并尝试达到新的平衡水分含量(约6%)。这是一个5%的重量变化,并将释放在十六个冬季期间的105升水汽。假设四个月的衰减期,直到春季和夏季的条件再次到达,这种储存的水将以每天约0.9升水的速率释放。

  混凝土的行为有点像木头,只是在湿度水平的变化中,水分含量的百分比变化略小。但是,更重要的是,因为在典型的小房子里,混凝土的总重量远远超过木材的总重量。

  从我们以前的例子来看,这个两层楼的房子确定了大约26立方米的混凝土。虽然图5显示从夏季到冬季的潜在变化约为3%,但即使是1%的变化也会对房屋的水分平衡产生重大影响。二十六立方米的混凝土在夏季可能会吸收多达600升的水(重量变化1%),冬天会以每天约五升的速度再次释放。再次,与占用产生的投入相比,这不是一个微不足道的数额。

  结合木材,石膏,家具和房屋混凝土释放的水分,这些水源每天仅从季节性储存中释放三至八升水。当然,这个比率取决于许多因素,但最重要的是夏季在特定地理位置的温度和湿度水平以及房屋内木材或纤维素产品和混凝土的暴露。

  季节性的水分储存和水分的季节性释放并不完全一致。事实上,当室外温度和室内湿度快速下降时,储存的大部分水分在初秋时相当快地释放出来。这是在这个时候冷凝投诉的通常原因。

  房子地下室应该比较湿地上的温暖的海绵。许多更严重的水分进入问题出现在地下室。水分通过扩散进入地下室,通过水的毛细作用,通过块墙的空气泄漏以及通过混凝土墙和地板的裂缝和接缝以及通过淹水和排水问题进入地下室。

  混凝土墙即使经过长时间的干燥,也会通过扩散过程将水分排放到内部,从而使水汽通过混凝土从一侧的湿润状态迁移到另一侧的干燥状态。一个正在进行的DBR研究项目已经调查了一些房子的地下室,看起来每天二到三升的水分可能会通过平均尺寸的房屋的地下室墙壁和地板向内扩散。这将取决于一年中的时间以及混凝土表面周围的潮湿程度以及地下室地下的水位高度。

  如果混凝土楼板部分搁置在水面上,则水可能通过毛细作用向上移动到地面的近表面。这可以在地板表面三到五毫米之内。从这一点来说,水将在其他方面几乎没有阻力的情况下蒸发和扩散。

  在最近的一个全新平房高湿度问题的调查中,发现地下室上方的胶合板底层地板在施工后不到一年就接近饱和。胶合板地板已成为一个大的蒸发表面,在房子里造成高湿度条件。在1983年2月至3月期间,湿度水平被记录在50%至60%,并且在窗户上产生大量凝结。最终发现周边排水沟瓷砖系统在污水坑坑处被堵塞。清理堵塞后,水从地板下面以约6加仑/分钟的速度冲入坑内近六个小时。后续检查(一年后)显示,问题已经清理。

  混凝土块是特别好的水分导体,因为混凝土孔的尺寸较大,而且块的空芯结构。当一个混凝土砌块墙壁在地下室几英尺以上的地下室地板的周围都是明显湿的时候,如果室内湿度条件是这样的话,那么每天从这个表面积蒸发的水分可能高达8到10升维持在40%以下。如果墙壁附近的地板上有可见的水分,这个比例将大大增加。

  爬行空间是另一个重要的水分来源。如果爬网空间的地面暴露,则可能每天释放多达40至50升的水分。如果抓取空间中的空气被允许进入房屋内部,可能会导致许多表面严重的水汽损坏,特别是进入阁楼和屋顶空间。尽可能保持适当的防潮层(如塑料薄膜,卷材屋顶,最好是整平混凝土板)的爬网空间。

  对于地下室被淹的不幸的租户或居民,假设上面的空气足够快地排出,那么在环境温度低于五到十摄氏度的情况下,六十平方米的暴露水将以每小时六升的速度蒸发保持湿度低于40%。在典型的冬季,所需通风量约为每小时五次换气。然而,在这种情况下,房屋内的湿度越高,蒸发率就越低,通?;岬贾卵现氐慕崧段侍夂透髦炙鸹怠?/p>

  不是那么明显,但是有一点重要的是,从地下室周围的墙壁接缝处,通过裂缝和排水管周围漏入地下室。这种空气也可能含有大量的水分。在冬季最冷的时候,水分输入速率会最大。

  这是在地下室氡气排放研究过程中发现的。在十帕斯卡的低压差下,水汽在漏气的同时与氡气一起进入地下室。在冬季,当堆叠效应发挥作用时,地下室的外部会受到轻微的负压。因此,外面的空气可能会通过窗户井眼或地下室的外部通过窗户井或通过排水管渗漏进入周边排水沟,变得湿润,并进入地下室作为冷却但饱和的空气。如果这个发现是普遍的,那么整个冬天,饱和的寒冷潮湿的空气就会流入房子。

  雨水渗透是一个古老的问题。然而,它仍然像以前一样神秘,我们不能确定壁腔中的水分问题完全是由于潮湿的空气冷凝而造成的,而不是由于雨水渗入。

  当房间内部出现雨水时,这通常是一个更大的问题的标志。由于大多数墙体的内部空腔都是闪光的,所以大部分穿透墙面的雨水都应该排到室外。但是呢?经过长时间的降雨后,可能会在各种口袋中留下湿气,并可能浸泡建筑物外壳的许多部分。

  水分来源

  图6

  根据盛行风的方向和外部温度,雨水浸湿的墙壁中的水分可能会使渗透空气饱和;这通常发生在基础墙连接处附近(图6),即使没有风也可能发生。烟囱效应虽然不强,但会使建筑物下部的空气渗透,在此过程中,不饱和的冷空气将会变得饱和,从而使建筑物中的水分含量很少但可能相当多。

  水分来源

  图7

  在最近进行的一个实验中,为了验证使用水蒸汽作为示踪气体来测量空气流量,使用一个风扇对小建筑物加压(图7a)。风扇被调整到约60升/秒的速度。用于保持室内湿度为40%的加湿器通过每小时注入1.2公斤水来适当维持湿度水平。但是,当风机系统逆转时,即处于减压模式(图7b)时,不需要加湿器来润湿空气。然而,在六小时的测试期间,湿度水平保持在约40%。

  唯一合理的结论是,虽然外面的空气被吸进了房子,但相当于每小时1.2公斤的水分必须从建筑物(即湿墙),也许从地下室区域供应。

  雨幕

  雨量渗透控制是雨幕的目标。然而,最近对雨幕性能的调查表明,很少有墙体设计和施工技术实际上产生了适当的雨幕。雨幕必须被认为是一个系统,而不仅仅是一个通风的包层。覆层后面的空腔对于雨幕性能具有非常重要的作用。对于雨屏进行压力平衡,模腔压力必须随着建筑物表面的风压而升高或降低。为了获得压力平衡的包层,限定腔体的表面和材料必须是气密且尽可能刚性的,以使腔体体积保持尽可能稳定。建筑物周围的空腔也必须适当分隔。

  水分来源

  图8

  如果防雨幕墙系统在连接建筑物外围的覆层后面有一个空腔(图8a),那么即使内壁是气密的,并且不管覆层中的通风孔的数量和尺寸如何,仍然会受到严重的湿润和空腔中的大量积雨。这是因为在房子的两个或三个高处的风引起的负空气压力在空腔中引起负压。这导致迎风面的包层上的压力差较大,并迫使雨水直接通过包层进入空腔。如果内壁是气密的,那么穿过包壳到达空腔的空气和水将使空气中的水分沉积,同时允许空气从下风侧的开口循环和排出。然而,如果空气发现通过内壁的通道,则水可能以渗透的空气直接进入内部。对于墙壁近乎完美的气密性的要求怎么强调也不为过,但划分也是防雨网原理的必要组成部分(图8b)。

  通过覆层的雨水渗透可能永远不会完全停止,但是,如果更加注意细节的闪烁,更重要的是气密性,雨水会穿透墙壁。

  当考虑所有各种水分来源时,房屋内的水分输入总量是居住者和他的活动所贡献的总和,也来自一些不太明显的来源,如建筑湿度,季节性储存效果,地下室或爬空间和雨水浸泡的墙壁。

  房屋内出现的高湿度环境和过冷凝水是由所有水源输入的水分总量造成的,但这些居住者未贡献的水源应首先予以纠正,然后再决定额外的通风是降低或控制室内湿度的唯一方法在冬天。

  水分来源

  图9

  最后,在考虑新房子可能的湿度输入率时,建议如下指导一个典型新房子的第一年,第二年和随后几年的可能水分负荷(图9)。在第一年,冬季,居民和其他来源的水分输入总量可能会达到每天20升或更多。随着建筑材料的枯竭,第二年的总水分投入率可能会下降到每天15升,并在第三年和之后最终达到每天约10升的水平。

  因此,水分输入总量的三分之一到一半是由居住者和他的活动以外的其他来源产生的。除特殊情况外,建议居民的生活方式不得不改变,但这是可行的,而且有必要解决许多其他的湿度来源,以控制新房子和改造房屋的湿度。

  参考

  1.RLQuirouette,Conceptionetconstructionduprojetchesurl'économied'elenergieMarkXI,Divisiondesrecherchesenbatiment,ConseilnationalderecherchesCanada,Noted'informationderecherchesurlebatimentno131F,Ottawa,1980年1月。

  2.加湿器,在ASHRAE手册,1983年设备。美国采暖,制冷和空调工程师协会,ISSN0737-0687,亚特兰大。1983年。

  3.在NHA住房,3部分水分引起的问题。加拿大抵押和住房公司。由MarshallMacklinMonaghanLimited,Cat。编写的报告No.NH20-1/2-1983-1E,ISBN0-662--9,渥太华,1983年6月。

  4.SCHite和JLBray,家庭湿度控制研究。1948年11月在美国普渡大学Urbana工程实验站研究系列第106号。

  RLQuirouette,水蒸气作为测量房屋空气变化的示踪气体。加拿大国家研究委员会建筑研究部,DBR第1085号文件,NRCC,渥太华,1983年。

在线客服
联系方式

热线电话

133-6050-3273

上班时间

周一到周六

公司电话

133-6050-3273

二维码
线